常见工况设计、安装图

1、泵坐在坑底(或池底)排水

a、临时潜水安装

带侧吸水口泵底座的矿用立泵出厂时一般带有吸水滤网管,对于临时使用或应急使用时,可直接按上图安装。这样安装的优点是简单方便。只要水面淹没泵底座即可排水工作,允许水泵露出水面工作,允许断水空转。这样安装只适用于较硬的池底,不能放在软质的坑底,否则会将泵底座附近的泥沙吸光,造成水泵下沉到泥沙中。

b、长期潜水安装

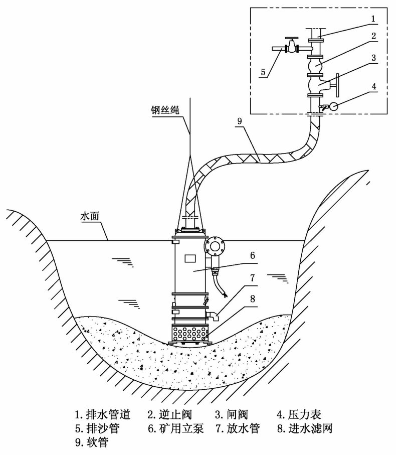
如果长期潜水使用的话,可直接选滤网泵底座的矿用立泵(又称排沙潜水泵),根据要求,安装相应的管路元件,见左图。与方案1相比,其优点是滤网面积大,排沙效果好,占用空间小。

这样安装同样只适用于较硬的池底,且泥沙浓度不高的工况,否则泵会下陷到泥中,停泵后,沉积的泥沙会把泵底座埋住,造成水泵无法启动。

c、小型泵移动安装

对于7.5kW以下的小型排沙潜水泵(或矿用立泵),泵出厂时带有出水软管接头,使用时只需将软管套在软管接头上,再用管箍或铁丝绑牢,即可直接使用。如果长期安装使用,最好按照方案2安装。

d、矿用立泵经典安装

矿用立泵的经典安装与前几个方案相比有很多优点:

① 当矿用立泵坐在软质的坑底时,可避免将泵底座附近的泥沙抽光,造成水泵下沉到泥中;

② 下接带吸水滤网的吸水软管,由于吸水滤网较轻,绑上一根或多根绳子,工人在岸上就可以很容易地移动吸水滤网,可扩大吸水范围;

③ 当坑底泥浆较浓时,可将吸水滤网拎高到浅水区运行,避免水泵过载运行;

④ 如果吸水滤网被杂物堵住,可将吸水滤网拎出水面清理,无需停泵,清理完后将吸水滤网直接放入水中,即可恢复排水,不需要再次灌泵启动;

⑤ 停泵后,可将吸水滤网拎出水面,避免不工作时沉积的泥沙将泵滤网埋住,造成启动困难、甚至无法开泵的问题;

⑥ 将吸水滤网拎出水面,在出水管上接高压气管,将泵内的水压出,让矿用立泵空转启动,再将滤网放入水中即可正常排水。这样做可以大幅降低启动电流,可以解决工程、救灾等工况下供电容量不足,造成水泵无法启动的难题。

⑦ 当水面淹没泵底座时,无需灌泵,可直接启动,此时可以使用无底阀滤网,节省费用,操作更方便。

2、泵悬置在水中排水

将泵悬置在水中排水,多见于软质坑底或者池底有泥沙的排水工况,这样安装可避免将泵插入泥沙中、导致水泵无法运行。将泵放置在水中,可以将泵直接固定在出水钢管上、也可以用钢丝绳将泵吊挂在水中。

a、采用硬连接将泵固定在水中

上图是将泵直接连接在出水钢管上,将泵固定在水中。除此之外,还可以将泵固定在浮筒或浮筏上。这种方法,安装简便,适合于以排水为主、水中泥沙含量不高,不会将泵滤网埋住的工况排水。缺点是坑底的泥沙无法排出,当泥沙淹没滤网时,容易堵泵。

b、泵吊装在水中,可上下移动排水

小型移动式矿用立泵(7.5kW以下)基本采用吊装加软管排水的方式,而且基本不装出水管上的阀门等原件。此外,大中型矿用立泵也有采用这样方式安装,例如:抽沙、清淤、清水池等工况。用钢丝绳将矿用立泵吊入水中,逐步下放抽沙清淤。为避免将泵直接插到泥沙中导致堵泵不出水,需要随时监控电流、压力表和出水情况。因此,这样使用对操作者的要求比较高。高扬程矿用立泵扬程较高,必须采用高压软管。高压软管非常贵,而且柔韧程度并不好,这样安装很容易发生爆管的危险,所以高扬程泵不推荐这样使用。

c、矿用立泵推荐安装方式

将矿用立泵直接固定在出水钢管上、也可以用钢丝绳将泵吊挂在水中、还可以将泵固定在浮筒或浮筏上。与其他方案相比,其优点为:

① 下接带吸水滤网的吸水软管,由于吸水滤网较轻,绑上一根或多根绳工人在岸上就可以很容易地移动吸水滤网,可扩大吸沙范围;

② 当坑底泥浆较浓时,可将吸水滤网拎高到浅水区运行,避免水泵过载运行;

③ 如果吸水滤网被杂物堵住,可将吸水滤网拎出水面清理,无需停泵,清理完后将吸水滤网直接放入水中,即可恢复排水,不需要再次灌泵启动;

④ 停泵后,可将吸水滤网拎出水面,避免不工作时沉积的泥沙将泵滤网埋住,造成启动困难、甚至无法开泵的问题;

⑤ 将吸水滤网拎出水面,在出水管上接高压气管,将泵内的水压出,让矿用立泵空转启动,再将滤网放入水中即可正常排水。这样做可以大幅降低启动电流,可以解决工程、救灾等工况下供电容量不足,造成水泵无法启动的难题;

⑥ 采沙或清理沉淀池时,因为吸水滤网较轻,可直接放在池底沙层上工作,方案2中,水泵太重,操作不当时泵会插入泥沙中。如果需要提高采沙浓度,还可将吸水滤网换成我单位产的水力搅拌器,可大幅提升采沙浓度,无需担心堵泵问题。

3、泵坐在岸上接吸水管排水

矿用立泵坐在岸上工作时,同离心泵一样安装使用。此时需要加泄水管,将矿用立泵泄压管出来的水引到水池中(注意不能堵住泄压管)。

这种安装的优点是安装、维护方便,而且矿用立泵允许水陆两用,即便水面上涨淹没水泵,矿用立泵仍可以正常运行。

4、矿用立泵串联排水

很多救灾或临时用泵的工况,要求扬程较高,选择大功率水泵可能存在很多问题,例如:大功率泵很重,而且体积大,存在无法搬运、无法提升、空间小无法通过等问题,还可能存在供电不足,无法开泵等问题。此外大功率成本太高,临时排水工程结束后,水泵闲置造成浪费。采用矿用立泵串联安装可以解决上述难题。

下图为2台KL50-50×2 37kW 矿用立泵串联安装示意图。

地奥集团宏能芙蓉煤矿、榆林市榆阳区泰普煤业有限公司、开滦集团唐山矿、承德丰宁建宇铁矿有限公司均采用这种安装方式进行清淤、排水、救灾、清水仓等工况作业,使用效果良好。串联安装是矿用立泵的独家特性,其他产品无此功能。串联安装对产品有一定的要求,不能随便使用。有需求的用户可向研究所咨询。

地址:上海市奉贤区青村镇南奉公路2315号内光大路519号
电话:021-57564638、57564468 传真:021-57564637
邮箱:pump@sand-pump.com